չЧÀÍÆ·ÖÊ Ê÷ÐÐÒµ¹æ·¶ ÏÔÉç»áÔðÈÎ
2020-02-03 ÔĶÁ´ÎÊý: 13566
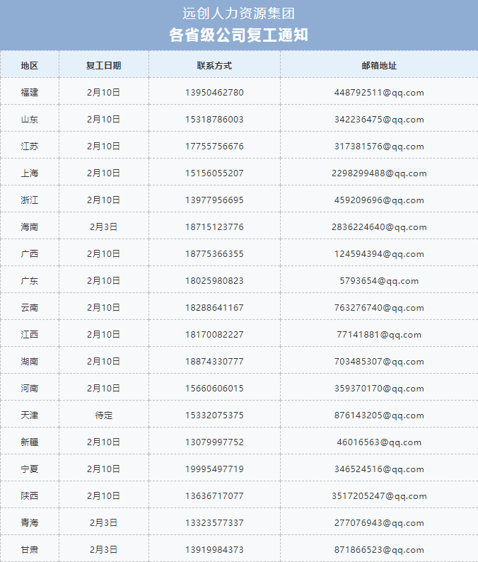
Ϊ¹á³¹ÖÐÑëÕþ¸®¹ØÓÚ·À¿ØÐÂÐ͹Ú×´²¡¶¾·ÎÑ×ÒßÇéµÄ²½·¥£¬£¬£¬£¬£¬£¬£¬×ñÕÕ¸÷µØ·½Õþ¸®¹ØÓÚ2020ÄêÏÄÀú´º½Úºó¸´¹¤µÄÒªÇ󣬣¬£¬£¬£¬£¬£¬²¢ÇÒÔÚÕâ»ù´¡ÉϾ¡×î´óÆð¾¢°ü¹Ü¿Í»§Ð§ÀÍÊÂÇéÕý³£¾ÙÐУ¬£¬£¬£¬£¬£¬£¬¼¯ÍŸ÷Ê¡¼¶¹«Ë¾¸´¹¤Ê±¼äÈçÏ£º
ÔÚÑÓ³Ù¸´¹¤Ê±´ú, ÌìÏÂÊ¡¼¶¹«Ë¾Ð¡Í¬°éÌṩÔÚÏßЧÀÍ£¬£¬£¬£¬£¬£¬£¬ÒÔÈ·±£¿£¿£¿£¿Í»§Ð§ÀÍÊÂÇéÕý³£ÓÐÐò¾ÙÐС£¡£¡£ÈôÓÐÈκÎÎÊÌ⣬£¬£¬£¬£¬£¬£¬¿ÉʵʱÓëÏà¹ØÖ°Ô±ÁªÏµ¡£¡£¡£
ÌìÏÂЧÀÍÈÈÏߣº400-800-7668
¶àлÄúµÄÃ÷È·ÒÔ¼°Ò»Èç¼ÈÍùµÄÖ§³Ö£¡